Product Summary
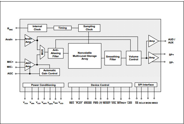
The ISD1730PY is a multi-message single-chip voice record and playback device. The ISD1730PY is designed for operation in either standalone or microcontroller (SPI) mode. The device incorporates a proprietary message management system that allows the chip to self-manage address locations for multiple messages. This unique feature provides sophisticated messaging flexibility in a simple push-button environment. The devices include an on-chip oscillator (with external resistor control), microphone preamplifier with Automatic Gain Control (AGC), an auxiliary analog input, antialiasing filter, Multi-Level Storage (MLS) array, smoothing filter, volume control, Pulse Width Modulation (PWM) Class D speaker driver, and current/voltage output. The ISD1730PY devices also support an optional (voiceAlert) feature that can be used as a new message indicator. With vAlert, the device flashes an external LED to indicate that a new message is present. Besides, four special sound effects are reserved for audio confirmation of operations.
Parametrics
ISD1730PY absolute maximum ratings: (1)Junction temperature: 150°C; (2)Storage temperature range: -65°C to +150°C; (3)Voltage Applied to any pads: (VSS - 0.3V) to (VCC + 0.3V); (4)Power supply voltage to ground potential: -0.3V to +7.0V.
Features
ISD1730PY features: (1)Integrated message management systems for single-chip, push-button applications; (2)Selectable sampling frequency controlled by an external oscillator resistor; (3)A wide range selection from 20 secs to 480 secs pending upon sampling frequency chosen; (4)Message and operation indicators; (5)Dual operating modes; (6)Two individual input channels; (7)Dual output channels; (8)ChipCorder standard features; (9)Package option: Lead-free packaged units.
Diagrams

| Image | Part No | Mfg | Description | ![]() |
Pricing (USD) |
Quantity | ||||||
|---|---|---|---|---|---|---|---|---|---|---|---|---|
![]() |
![]() ISD1730PY |
![]() |
![]() IC VOICE REC/PLAY 30SEC 28-DIP |
![]() Data Sheet |
![]()
|
|
||||||
![]() |
![]() ISD1730PYI |
![]() |
![]() IC VOICE REC/PLAY 30SEC 28-DIP |
![]() Data Sheet |
![]()
|
|
||||||
(China (Mainland))









