Product Summary
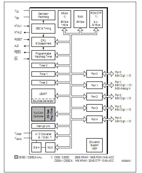
The SAFC505CA-LM is an 8-bit CMOS Microcontroller. It is efficient both as a controller and as an arithmetic processor. The SAFC505CA-LM has extensive facilities for binary and BCD arithmetic and excels in its bit-handling capabilities.
Parametrics
SAFC505CA-LM absolute maximum ratings: (1)Ambient temperature under bias (TA):-40℃ to 125℃; (2)Storage temperature (Tstg):-65℃ to 150℃; (3)Voltage on VCC pins with respect to ground (VSS):-0.5 V to 6.5 V; (4)Voltage on any pin with respect to ground (VSS):-0.5 V to VCC +0.5 V; (5)Input current on any pin during overload:-10 mA to 10 mA; (6)Absolute sum of all input currents during overload condition:|100 mA|; (7)Power dissipation:TBD.
Features
SAFC505CA-LM features: (1)Fully compatible to standard 8051 microcontroller; (2)Superset of the 8051 architecture with 8 datapointers; (3)Up to 20 MHz operating frequency; (4)256 byte on-chip RAM; (5)Twelve interrupt sources with four priority levels; (6)On-chip emulation support logic (Enhanced Hooks Technology); (7)Programmable 15-bit watchdog timer; (8)Oscillator watchdog; (9)Fast power on reset; (10)Power Saving Modes; (11)P-MQFP-44 package; (12)Pin configuration is compatible to C501, C504, C511/C513-family; (13)256 register/data bytes located in external data memory area; (14)1 MBaud CAN baudrate when operating frequency is equal to or above 8 MHz; (15)internal CAN clock prescaler when input frequency is over 10 MHz.
Diagrams

![]() |
![]() SAFC167CRLMHA+ |
![]() Infineon Technologies |
![]() 16-bit Microcontrollers (MCU) 16-BIT ROM/ROMLESS ASC SSC 2 kB |
![]() Data Sheet |
![]() Negotiable |
|
||||
![]() |
![]() SAFC515L24N |
![]() Other |
![]() |
![]() Data Sheet |
![]() Negotiable |
|
||||
![]() |
![]() SAFCC130MRB1X00R11 |
![]() Murata |
![]() Signal Conditioning 130.0MHZ CHIP SAW FI |
![]() Data Sheet |
![]() Negotiable |
|
||||
![]() |
![]() SAFCC183MCA1T00 |
![]() Murata |
![]() Signal Conditioning 183MHZ SAW FILTER |
![]() Data Sheet |
![]() Negotiable |
|
||||
![]() |
![]() SAFCC183MCA1T00R12 |
![]() Murata |
![]() Signal Conditioning 183.6MHZ CHIP SAW FI |
![]() Data Sheet |
![]() Negotiable |
|
||||
![]() |
![]() SAFCC1G74KA0T00R00 |
![]() Murata |
![]() Signal Conditioning 1.7GHz SAW Filters |
![]() Data Sheet |
![]() Negotiable |
|
||||
(China (Mainland))










