Product Summary
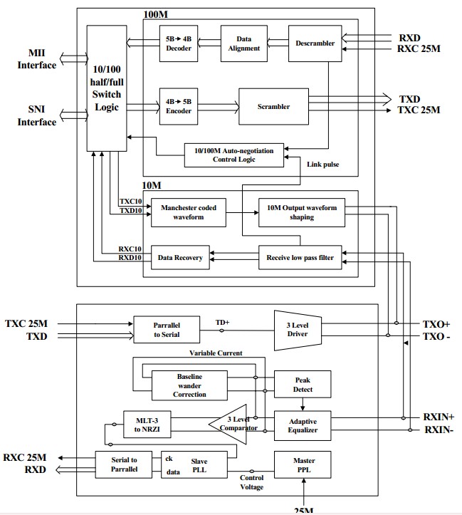
The RTL8201CP-VD-LF is a single-chip/single-port PHYceiver with an MII (Media Independent Interface)/SNI (Serial Network Interface). It implements all 10/100M Ethernet Physical-layer functions including the Physical Coding Sublayer (PCS), Physical Medium Attachment (PMA), Twisted Pair Physical Medium Dependent Sublayer (TP-PMD), with an auto crossover detection function, 10Base-Tx Encoder/Decoder, and Twisted-Pair Media Access Unit (TPMAU).The RTL8201CP-VD-LF can be used for applications such as those for a Network Interface Adapter, MAU(Media Access Unit), CNR (Communication and Network Riser), ACR (Advanced Communication Riser), an Ethernet hub, and an Ethernet switch.
Parametrics
RTL8201CP-VD-LF absolute maximum ratings: (1)Supply Voltage: 3.0V to 3.6V ; (2)Storage Temperature: -55°C to 125°C.
Features
RTL8201CP-VD-LF features: (1)Pin-to-pin compatible with the RTL8201BL; (2)Supports MII and 7-wire SNI (Serial Network Interface) ; (3)10/100Mbps operation ; (4)Full/half duplex operation ; (5)Twisted pair or fiber mode output; (6)Auto-Negotiation ; (7)Supports power down mode ; (8)Supports operation under Link Down Power Saving mode ; (9)Supports Base Line Wander (BLW) compensation; (10)Supports auto crossover detection (new RTL8201CP function); (11)Supports repeater mode ; (12)Adaptive Equalization; (13)Network status LEDs ; (14)Flow control support; (15)25MHz crystal/oscillator as clock source ; (16)IEEE 802.3/802.3u compliant; (17)Supports IEEE 802.3u clause 28; 1.8V operation with 3.3V IO signal tolerance ; (18)Low dual power supply, 1.8V and 3.3V; 1.8V is generated by an internal regulator; (19)0.18μm CMOS process ; (20)48-pin LQFP package.
Diagrams

(China (Mainland))






